|
European mink captive breeding
Back to Content
D. Housing Management Protocol
1. Enclosure for public viewing
AREA
A minimum area of 10m2 per individual animal is recommended
to meet the spatial requirements of the species, but wherever
possible larger enclosures should always be encouraged. The design
should be based on a three-enclosure module: two separate smaller
(off-show) holding pens with basic accommodation that may include
a small pool; a large enclosure (on-show to the public)with a
diverse and enriched natural environment to accommodate a breeding
pair and young. This type of design promotes normal behavioural
expression in a highly active and inquisitive species, and is
equally attractive to both the mink and for the visiting public.
The rotation of individuals in each of the enclosures adds further
stimulation especially in scent-marking behaviour a highly important
means of social communication.
WATER/LAND RATIO
The ratio of land to water should be > 4:1. It is important
to make the bank-line of the water-body as long and intricate
as possible. Small islets, stones and bridges are good in this
respect.
OUTDOOR POOL
Although a semi-aquatic species, the European mink is not a deep
water inhabitant. The pool depth should be no more than 0.5m with
running water to typify the preferred natural habitat, with various
cascades and rapids. The banks should also be as diverse as possible
with logs, stones and dense vegetation for cover. In addition,
submerged and/or partially submerged logs and stones are also
recommended. Mink also enjoy wallowing in a mixture of mud and
sand, therefore, a muddy depression would enrich the behaviour
of the mink. The water in the pool should be renewed constantly,
or filtered, as reduced water quality has a marked effect on the
protective ability of fur.
It would be preferable to have water in the pool throughout the
year, and where freezing may occur running water may help to prevent
ice-formation.
OUTDOOR ENCLOSURE (LAND AREA)
A grassed enclosure with good plant coverage is preferable, with
areas containing sand and gravel. Natural rocks, stones, tree
trunks & stumps, provide shelter and facilitate scent-marking
behaviour.
In order to prevent the mink digging out from the enclosure the
ground under the soil should be covered with mesh or concrete.
FENCING
The height of the boundary fence should be no less than 1.2m (NB!
snow-coverage should also be taken into account). The fence can
be either solid or steel mesh (10 x 10 mm). A mesh fence must
have its upper part covered with ~30cm-wide of sheet-metal.
The lower section of the sheet should be set apart from the fence
(Figure 2). The use of an electric fence is also recommended.
The corners of the fence should be examined with particular care
as they may provide an easy way to escape (wherever possible it
would be better to design the enclosure without sharp corners).
Trees in the enclosure must be at least 1m away from the boundary
fence, as any overhanging branches may provide another means of
escape.
A service corridor for the keeper with a double-door for security
is essential.

Figure 2.
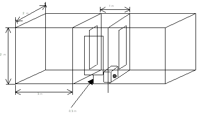
2. Enclosure for breeding facility (off-show)
SPACE
A minimum area of 6m2 per individual animal should be provided.
The design should be based on a two-enclosure module to accommodate
a breeding pair and young, to include a service corridor for the
keeper with interconnecting doors (Figure 3).
Figure 3. Two-enclosure for breeding facility
WATER/LAND RATIO
The ratio of land to water should not be more than 4:1(preferably
8:1).
OUTDOOR POOL
Depth of pool should not be less than 0.3m. Water should be renewed
constantly or filtered.
It would be better to have the water in pool throughout the year,
but freezing must then be taken into account (e.g. keeping the
water running will help to prevent ice-formation).
LAND PART(OUTDOOR ENCLOSURE)
A suitable substrate is smooth small pea-gravel. The bottom of
ground should be covered with mesh to prevent mink digging themselves
out. Cage furniture should include sand areas, rough stones, tree
trunks & stumps and stones used for fur-rubbing (especially
after swimming) and scent-marking.
Hollow tree trunks & stumps or pipes provide suitable denning
sites for seclusion, resting and shelter. However, it is necessary
for the keeper to be able to view these areas adequately.
FENCING
The enclosures must be fenced on all sides with mesh (10 x 10mm)
including the floor and roof. The height of enclosure should be
approximately 1.8-2m to allow easy access for the keeper. The
door to the enclosure as well as the door to service corridor,
must open inwards, and should be `stepped' with a threshold no
less than 0.3m from the ground to prevent the accidental escape
of an animal while opening the door.
In regions with heavy snow-coverage in winter, roof damage may
occur if left unattended, especially to the mesh-panels, due to
the weight burden from the collection of snow.
3. Nest Box Requirements
Nest boxes should be situated in the outdoor enclosure. It is
recommended to use the standard sleeping-boxes (Figure 4). The
nest box and enclosure should be connected with sliding shift
door. The nest box(s) should consist of two compartments. As a
rule the animal uses one of the compartments as sleeping box and
the other as a latrine. A connecting door between each of the
two compartments helps in the manipulation of the animal. In all
doors the slider tracks should stop short at the edge of the entrance
holes to the boxes to make cleaning easier.
The nestbox should be light and portable. This facilitates the
nestbox being moved with the animal to another enclosure or facility.
Ventilation holes (0.7cm) drilled all around the top and bottom
sides of the boxes may be advisable, especially in warm climates.
MEASUREMENTS
The overall dimensions should be 27 x 28-30 x 70-80cm. The diameter
of the entrance holes should be c.6-10 cm. The box should be built
of plywood or deal. Both compartments should have separate roofs.
Ideally the box should be situated at the farthest distance away
from the water. In regions with extreme winter conditions the
use of thermostatically controlled floor heating or the additional
insertion of a smaller sleeping box (c. 25 x 20 x 31 per compartment)
may be appropriate.

Figure 4. Nestbox
BEDDING
Dry sphagnum moss, hay or leaves(dry) could be used for bedding.
Woodshavings is a good bedding material for use in the latrine.
During the winter period unlimited bedding material should be
offered to the animal(s).
4. Breeding Box Requirements
All facilities should provide sufficient hiding places especially
during the breeding season. However, it may be necessary to offer
additional `denning sites' in the form of breeding boxes. Males
particularly favour these boxes, especially during the breeding
season when they are frequently used as a place for copulation
to occur.
5. Environmental Enrichment
Environmental enrichment is an important consideration in the
design of the enclosure to encourage the normal behavioural repertoire
of the mink. Though essentially static, it is therefore of equal
importance to provide additional "behavioural" enrichment
in the form of "movable" objects, such as floating objects
in the pool. The positioning of different types of pipes and other
tunnel-like objects would provide interest where mink like to
move and hide themselves. Further re-positioning or renewal of
movable objects is also desirable as it stimulates additional
interest.
Foraging behaviour can be encouraged by hiding food that will
also increase the overall daily activity. Live food in the form
of invertebrates (locusts, crickets) and fish in the pool will
stimulate hunting behaviour. However, the European mink are very
conservative in relation to new food items and it might be very
difficult at first for the mink to accept new food.
6. Dietary Requirements
Due to the mainly crepuscular and nocturnal nature of the European
mink, with a peak daily activity period occurring during these
periods, it is better to feed mink in the late afternoon. If fed
too early the food may be spoiled. A complete balanced captive
diet has yet to be developed, nevertheless, the captive diet developed
for the Black-footed ferret can provide a good starting point
(Appendix 5).
A suitable captive diet comprises of around 33% fish (freshwater
cyprinids & salmonids, or seawater species, such as, cod,
haddock and whiting; but not oily fish like herring or mackerel)
and the remainder comprising of day-old chicks, mice and occasionally
amphibians and invertebrates (crayfish). Where legally permissible
live food is recommended with appropriate supervision, or alternatively,
freshly killed food can be offered.
A recommended feeding regime is as follows: ground meat (50%)
and Mazuri Carnivore Feline Meat F (50%) for three days; fish
diet for two days; mice & day-old chicks for two days - all
presented on alternative days. The amount of daily food ration
is dependant on individual consumption though it must be increased
during the breeding season (see Breeding Protocol).
Vitamin/mineral food supplements may be of benefit, especially
where fresh food is not always available. Commercially prepared
supplements are available or preparations can be added to the
food ration (see appendix 5)
7. Restraint
TRAPPING-BOX
Two types of trapping-boxes are recommended:
a) Constructed of wire-mesh (weldmesh) with a trap door. This
design is perhaps best for transfer of mink from the nestbox for
removal and/or examination. The measurements of the box should
be slightly less than that provided for the compartment next to
the sleeping chamber of the nestbox. Place the trapbox against
the `end' compartment (latrine) with sufficient cover (i.e. towel
or sack) to darken the interior, then by lifting off the roof
of the sleeping area the mink will almost always seek refuge in
the darkened compartment containing the trapbox.
b) Constructed of wood for better protection, warmth and seclusion
(see Figure 1 and 5). This design of trapbox is best deployed
in the event of an accidental escape of an animal from its enclosure.
As mink usually choose to run along the edge of a `wall' it will
try and seek refuge in a dark tunnel-like place from which to
hide, even without bait.

Figure 5. Construction of live trap
8. Daily Husbandry Routine
It is important that a daily routine is established and maintained
in the facility. A husbandry protocol must be established by each
facility (based on the European mink Guidelines) and posted in
the area.
Individual records must be maintained on each European mink kept
in the facility, with the exception of kits whose records will
be incorporated initially with the mother until they reach independence
and are separated from her; whereupon they will be issued with
their own individual records.
All European mink have to be individually checked at least twice
daily, in the morning and afternoon. The only exception being
females with kits during their first 7-14 days after parturition.
Nest boxes should be cleaned in the morning. All soiled bedding
material (shavings, wood chips etc.) should be replaced daily
with fresh material. A scraper is used to remove faecal material
from the sides of the latrine side of the nest box. Use of disinfectants
and water for cleaning on a daily basis is discouraged as mink
prefer their own scent.
Fresh food and water should be presented in late afternoon.

Back to Content
Next
|